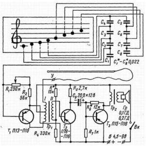
Эта установка позволяет исполнять простые музыкальные мелодии. Основой конструкции является панель, примененная в приборах для изучения музыкальной грамоты (см. рис. 22, а). Вместо нарисованных нотных знаков на панели укрепляются их металлические двойники, вырезанные из латуни или меди. Каждый из этих знаков соединен с конденсатором, включенным во входную цепь звукового генератора, собранного на транзисторе Т1. Таким образом, нотная линейка образует магазин емкостей. Вторым элементом управления музыкальной установки служит полоска-указка У с металлическим контактом на конце. Она является переключателем емкостей, а следовательно, и рабочей частоты генератора.

Через трансформатор Тр1, первичная обмотка которого служит задающим элементом генератора, а вторичная согласующим, сигнал подается на двухкаскадный’ усилитель, собранный на транзисторах Т2 и Т3.
Через выходной трансформатор Тр2 к выходу усилителя подключен громкоговоритель Гр типа 0,1 ГД или 0,2 ГД. Трансформатор Тр1 берется от транзисторных приемников с двухтактным выходным каскадом, а трансформатор Тр2 обычно продается-вместе с громкоговорителем. Все транзисторы низкочастотные типа П13—П16 с коэффициентом усиления по току В от 30 и более. Данные остальных деталей генератора и усилителя приведены на схеме.
Основная настройка звукового генератора сводится к подбору конденсаторов C1 — C8. Тщательно подбирая их емкости, нужно добиться фиксированных частот, начиная от «до» первой октавы и заканчивая «до» второй октавы, руководствуясь табл. 1, приведенной на стр. 28. Желательный тембр звука подбирается изменением сопротивления резистора R1. Усилитель может быть заменен и другим, более мощным; схемы таких усилителей читатели могут найти на страницах журнала «Радио». Вся электронная часть этой самоделки монтируется внутри корпуса табло или в отдельном корпусе, если нотная линейка будет сделана на плоской пластмассовой или деревянной панели.
